株式会社日本耐震設計は防災シェルター「MYSHELL-FAMILY」を開発し、
2022年11月04日に特許査定を受信したことを2022年12月13日付けで発表しました。
【本シェルターの概要】
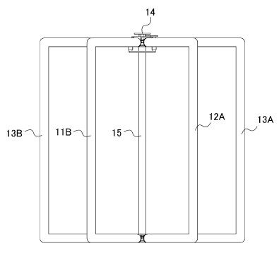
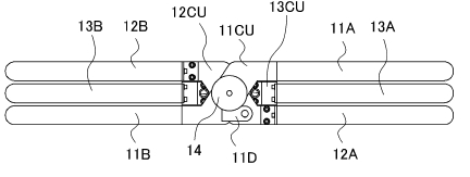
本シェルターは地震時に避難の為に使用する、複数のフレームが回動可能に接続された防災シェルターです。
複数の矩形状フレームで作られており、そのフレームが開いた状態において地震等による落下物及び転倒物等に対する強度が高く(12トンの耐荷重があります)、またそのフレームを閉じると12cmの収納巾になります。場所を取らず、収納が容易となっております。
地震被害である住宅の倒壊、タンスやキャビネットなど重量のある家具等から避難者の身を守り、安全性を高めることが可能です。
とてもコンパクトで今までにない耐震シェルターとなっております。
日本は地震国家であり、近い将来巨大地震が発生すると予想されています。
特に巨大地震で起こる津波は、多くの人の命を一瞬にして奪ってしまいます。
そんな中で命の保護が可能な防災シェルター(耐震シェルター)の備えは “誰にでも” 必要です。
木造住宅の倒壊から身を守る以外でも、耐震対策がなされた場所でも天井が落ちたり家具が飛んで来たりした危険があるため、オフィスや公共施設でも備えておく必要があります。
特許出願番号:特願2021-106566
詳しくは弊社HPをご覧ください。:https://nihon-taishin.jp/
お問い合わせ先 ※どなたでもお気軽に問い合わせください。
会社名:株式会社 日本耐震設計
所在地:〒104-0032 東京都中央区八丁堀3-18-7黒江屋ビル4階
TEL:03-5542-5507 FAX:03-5542-5510
Email:taishinn@d7.dion.ne.jp
ホームページからのお問い合わせも可能です。
URL:https://nihon-taishin.jp/



